トイレの水を流すレバーが戻らなくなってしまった、回らなくなってしまった。というトラブルは意外に多く発生しています。そんな時、トイレレバーの交換方法を知っていれば落ち着いてスムーズに対処することができます。
また、トイレレバーにトラブルが起きてしまう原因も解説していくので、予防策にもなりますよ!
レバーを回して水が流れる仕組み

引用:https://jp.toto.com/support/repair/solution_t/01_4.htm
まず、レバーを回すことでトイレの水が流れる仕組みについて紹介します。
レバーを回すと、トイレタンク内にある鎖で繋がったフロート弁が持ち上がり、貯まっていたタンク内の水が配管を通り便器内に流れ出します。
しかし、それだけだとタンク内の水が無くなってしまうため、その動作と同時にタンク内の給水も行われます。この排水と給水が行われることにより、いつでもトイレの水を流せる状態となるのです。
レバーを回すだけで、このような重要な働きにつながっているため、トイレのレバーが故障してしまうとこれら一連の動作できなくなってしまいます。
ペネロペトラブルが起きる原因
トイレのレバーが戻らない、回らないといったトラブルの原因は多くがレバーの劣化によるものです。
水回りであることからレバーは錆びついたり汚れやすく、それが原因で不調を起こしている可能性が考えられます。定期的に掃除などのメンテナンスを行うことでトラブルを予防することもできます。
ペネロペトイレのレバーを交換する方法

レバーが回らない、戻らないというトラブルが発生した時、基本的に行う対処法は「レバーの交換」です。
トイレのレバーはホームセンターでも購入することができますし、お使いのトイレメーカーのホームページなどから購入することもできます。価格は1,500円〜2500円程で、多くのトイレに対応しているマルチレバーも市販されているためそちらもおすすめです。
ではさっそく実際のレバー交換方法を解説していきます。
①止水栓を閉じる
作業を行う前に必ずやって欲しいのが、止水栓を閉じることです。これを閉じることでトイレの水を一時的に止めることができます。
止水栓がある位置はトイレによって変わりますが、多くの場合はトイレの左側に壁とタンクを繋ぐ排水管があり、その排水管に止水栓が設置されています。
止水栓の溝をマイナスドライバーで時計回りに回すと水を止めることができます。
②トイレタンクの蓋を外す
止水栓を閉じたら、まずトイレタンクの蓋を外しましょう。
蓋は、垂直に持ち上げることで簡単に取り外すことができます。ただし、手洗い付きタンクの場合は蓋に排水管が繋がっています。手で接続部のナットを緩めることで簡単に取り外すことができます。
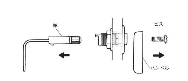
ペネロペ③古いレバーを外す
まず古いレバーを取り外すにあたり、レバー先端についている鎖を取り外しましょう。
次に、レバーが固定してあるタンク内のナットを取り外します。レバーを右手で掴み、ナットを反時計回りに回すことで取り外すことができます。すると、レバーが簡単に引き抜けるようになるため、タンクから取り外しましょう。
④新しいレバーをつける
トイレタンクに新しいレバーを差し込みます。
レバーに上下を示す印がついている場合もあります。
レバーを差し込んだら、内側から水漏れ防止のパッキンを差し込み、ナットを閉めればレバーの取り付けは完了です。
⑤レバーに鎖をつける
新しいレバーに最初に外した鎖を取り付けます。
レバーからバルブまでの鎖の長さによってレバーを回したときの流れる水の量が変わります。一度鎖を付けてからレバーを回し、水の量を確認してみましょう。
ペネロペ⑥トイレタンクの蓋を戻す
以上の工程を完了したら、最初に外したタンクの蓋を戻します。
手洗い付きタンクの場合、給水管を取り付けるのを忘れずに行ってください。
まとめ
レバーの交換が完了したら、止水栓を開き、レバーを回して水を流してみてください。しっかりと水が流れ、水漏れなどを起こしていないか確認ができたら交換は完了です。
レバーの交換は、個人でも簡単に行える作業ですが、不安な方や上手くいかなかった方はトイレ修理業者に依頼することも可能です。
いずれにしても無理な修理は行わず、安全に気をつけて行うようにしましょう。







